Les types de turbine hydraulique
Les types de turbines
Face à la grande variation des
conditions de chute et débit de même que
des requis techniques.
Les types de turbines ont été développés pour obtenir des performances optimales.
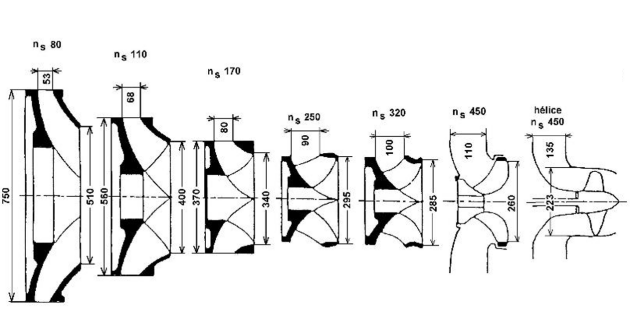
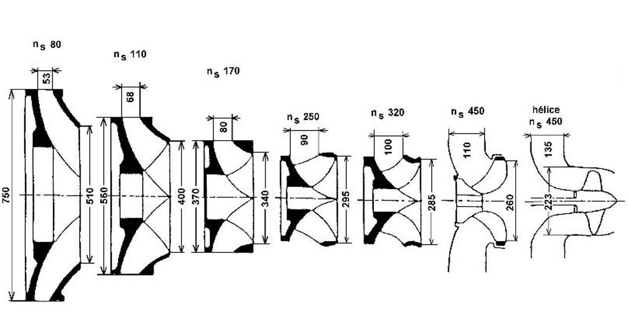
Fondamental : Observations sur la forme des turbines hydrauliques
Au delà de la taille de la machine, la forme constitue le critère de distinction des types de turbine.
On observe que la forme des machines hydrauliques évolue avec la vitesse spécifique.
Plus la chute est grande, plus le fluide contient de l'énergie. À une chute élevée correspond une vitesse spécifique faible.
Remarque :
Le paramètre qui influence le plus la forme de la turbine, c'est la chute. Le débit influence la dimension de la turbine.
Bulbe
Les turbines de type bulbe ont été conçues pour les aménagements au fil de l'eau et de faible chute, généralement de 5 à 15 m. Leur axe est horizontal. Ils ont un peu la configuration d'un sous-marin retenu par la structure de la centrale. L'intérieur du bulbe est considéré pour la sécurité comme un espace confiné. L'enfoncement de la roue par rapport au niveau aval est assez important. Il est de l'ordre de 10 m.
Remarque :
Le bulbe est une machine très efficace, complexe et chère. Par contre, l'aménagement civil est moindre que pour les autres types de turbine.
L'accès pour la maintenance est difficile.
Kaplan
La turbine Kaplan est généralement installée sous des chutes variant de 15 à 40 m. L'axe est vertical. L'amenée est souvent intégrée dans une bâche fronto-spirale.
Il s'agit d'une machine assez courante qui présente un enfoncement modéré d'environ 5 m sous le niveau aval. Grâce au pas des pales ajustable, la Kaplan a un rendement très peu variable sur une grande gamme de débit.
Une variante est la turbine hélice dont le pas des pales est fixe. Elle présente un sommet de rendement très élevé mais exploitable sur une très faible plage de débit. Pour cette raison, la turbine de type hélice se retrouve souvent dans des centrales pourvues d'un grand nombre d'unités (autour de 10).
Remarque :
La Kaplan est un type de turbine très répandu pour les basses chutes. La version à pas fixe nommée hélice est très fiable ; surtout trouvée en Amérique du Nord.
Francis
Le plus ancien et le plus répandu des types de turbine. La turbine Francis a un très grand domaine d'application.
En axe vertical pour les grandes dimensions, horizontal en mini-hydro où on retrouve plusieurs configurations possibles : roue simple ou roue double(axe horizontal).
C'est une machine robuste et très efficace. Son enfoncement est faible , environ 2 m sous le niveau aval, mais dans certain cas la roue peut être au dessus du niveau aval.
Remarque :
Par son efficacité et sa fiabilité, la turbine Francis est le type de turbine le plus utilisé dans le monde.
La turbine-pompe
La turbine-pompe est une machine qui selon le sens de rotation permet de turbiner ou de pomper.
Le type Francis est très courant mais on rencontre aussi des machines axiales (Kaplan ou bulbe) et diagonales (Dériaz).
Impossible d'accéder à la ressource audio ou vidéo à l'adresse :
La ressource n'est plus disponible ou vous n'êtes pas autorisé à y accéder. Veuillez vérifier votre accès puis recharger la vidéo.
Transcription textuelle
Remarque :
La turbine-pompe fait partie d'une installation d'accumulation d'énergie qui est très efficace. Le cycle combiné pompage et turbinage peut présenter une efficacité globale dépassant les 80%. Sur un réseau, la centrale de pompage turbinage permet d'accepter les sources de production intermittentes tout en garantissant la fiabilité de l'alimentation électrique.
Pelton
La turbine Pelton est une turbine fonctionnant sous haute chute, plusieurs centaines de mètres. C'est une turbine à action dont le jet est freiné par les augets en rotation, il s'agit d'un écoulement à surface libre. De ce fait, la roue tourne dans l'air et est suspendue au dessus du canal de fuite. Il peut en résulter une perte de chute. L'effort sur chaque auget est le résultat d'une impulsion qui cause une fatigue importante.
Remarque :
On retrouve les turbines Pelton dans les grands massif montagneux, Rocheuses, Andes, Alpes, Himalaya.










